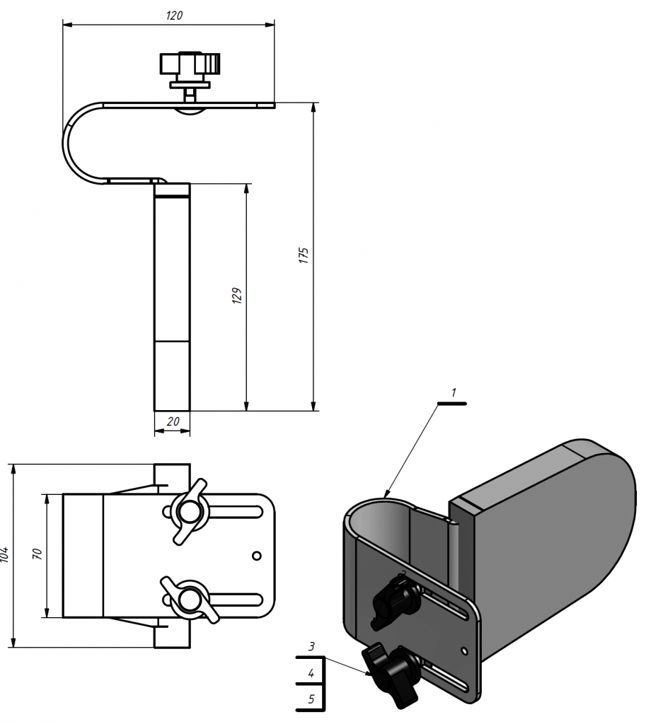
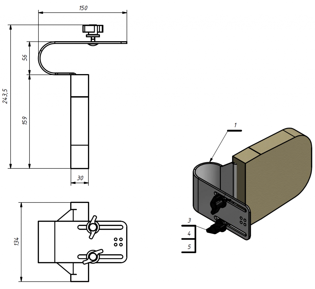
Soportes de tronco Jordi
- AK-JRI-155 Soportes de tronco - Silla Jordi
Los soportes de tronco se pueden utilizar con la silla terapéutica Jordi.
Se pueden ajustar en ancho, proporcionan estabilización lateral adicional y se pueden montar a diferentes alturas.




